Проверка электромагнитного клапана ограничения давления наддува
3K
1
0
Процедура проверки:
- Выключить зажигание;
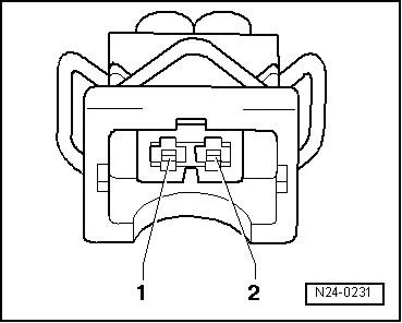
- Вынуть штекер -2- из электромагнитного клапана ограничения давления наддува N75 -1-;

- Измерить сопротивление между контактами на клапане. Заданное значение: 25…45;
Если заданное значение не достигнуто:
- Заменить электромагнитный клапан ограничения давления наддува N75;
Если заданное значение достигнуто:
- Включить зажигание;
- Измерить питающее напряжение клапана между контактом 1 штекера и массой двигателя. Заданное значение: примерно равно напряжению на аккумуляторе;

Если заданное значение не достигнуто:
- Выключить зажигание;
- Подсоединить 121-контактный кабель переходника V.A.G 1598/31 к жгуту проводки блока управления. Блок управления двигателя при этом не подключается;

- Проверить провода между 121-контактным кабелем переходника V.A.G 1598/31 и штекерным соединением в соответствии с электрической схемой на обрыв;
Контакт 1 + гнезда 1 и 2.
Контакт 2 + гнездо 62.
Сопротивление линии: макс. 1,5.
- Дополнительно следует проверить провода на межпроводное короткое замыкание, а также на замыкание на массу автомобиля и на замыкание на плюсовую клемму аккумулятора;
Если неисправность в проводах не обнаружена:
- Заменить блок управления непосредственного впрыска J248.
Был ли этот лайфхак полезным?
Ваш отзыв помогает нам улучшать контент.
Похожие материалы
Нужны моменты затяжки шорт блока двигатель Bmd Фольксваген Поло 4
Qa
279
1
Какой момент затяжки болтов коленвала Фольксваген Поло 4?
Qa
4.8k
1
Обороты не набирает Фольксваген Поло 4
Qa
2.9k
2
Подойдёт ли двигатель bby на Фольксваген Поло 4 с АКПП?
Qa
1.1k
1
Какие моменты затяжки коренных и шатунных болтов Фольксваген Поло 1.2?
Qa
4.5k
1
Какие моменты затяжки коленвала Фольксваген Поло 4, 1.4?
Qa
2.1k
1
Обсуждение (0)
Пока нет комментариев!