Ищем...

Замена сайлентблоков рычагов передней подвески VW Golf 5

23K
9
0

В данном фото отчёте подробно показано как заменить своими руками передний сайлентблок рычагов передней подвески на автомобиле Volkswagen Golf 5. Данный фото отчёт подойдёт ко всем моделям VW Golf 5 кроме GTI, GTD, R32. Сама по себе процедура замены средней степени сложности. Вам потребуется гараж и яма.

Какие запчасти и инструменты нужны для замены сайлентблоков рычагов передней подвески Гольф 5

Из необходимых инструментов это:

  1. Пресс или тиски и домкрат;
  2. Гаечные ключи на 16,18 и пара плоских отвёрток;
  3. Жидкое мыло и проникающая смазка, лучше всего WD-40;
  4. Новые сайленты.

НаименованиеАртикулЦена руб.
Сайлентблок переднего рычага переднийVW 1K0 407 1821020
Lemforder 29916 01440
TRW JBU692400
Сайлентблок переднего рычага задний левыйVW 1K0 199 231J2680
Lemforder 34762 011560
TRW JBU6911550
Сайлентблок переднего рычага задний правыйVW 1K0 199 232J3210
Lemforder 34763 011560
TRW JBU6901330
Вставка сайлентблока переднего рычага заднего

Swag 30931253380
GSP 510332250
Meyle 100 610 0043400

Рекомендуется заменить болт переднего сайлентблока VW N101 410 03.

Внимание. Не забудьте после замены передних сайлентблоков, сделать развал схождения.
Step 1
1

Нам надо снять сам рычаг целиком, поэтому брызгаем все болты его крепления и резьбы ВД40 и чистим металлической щеткой.

Step 2
2

Расслабляем все болты и затем приподнимаем на домкрат так чтобы колесо еще немного и отрывалось от земли.

Step 3
3

Откручиваем гайки шаровой, болт переднего сайлента и болты кронштейна заднего сайлента.

Step 4
4

Легко снимаем рычаг и готовим жидкое мыло.

Step 5
5

С помощью втулок и подручных приспособ и конечно же тисков и мыла выпресовываем старый сайлент. Я использовал такую схему и вдобавок срезал буртики сайлента чтоб не препятствовали его выходу из посадочного места.

Step 6
6

Затем запресовываем новый сайлент, так же с помощью мыла и подручных втулок и болтов, аккуратно.

Step 7
7

Ставим все обратно.

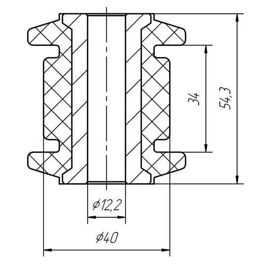
Еще вот чертеж сайлента с размерами для подбора втулок для запрессовки.

Было ли это руководство полезным?

Ваш отзыв помогает нам улучшать контент.

Не нашли ответ на свой вопрос?
Спрашивайте в комментариях. Ответим обязательно!

Обсуждение (0)

Войдите, чтобы оставить комментарий!
Войти

Пока нет комментариев!