Ремень или цепь в двигателе i-vtec 2.4 л Хонда СРВ 3?
Honda CR-V CR-V III
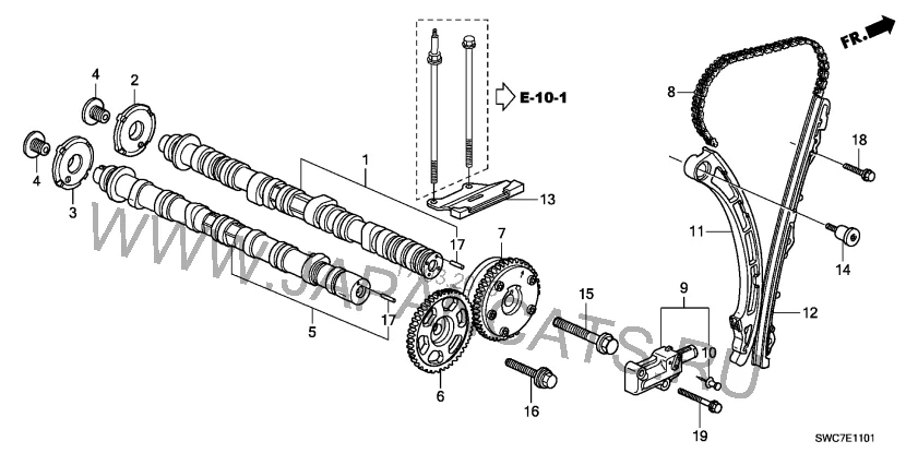
Мотор i-vtec 2.4 л. Хочу узнать на нем бывает ремень или цепь? Заранее спасибо за ответ.
1 Ответы
0
На двигателе K24Z4 стоит цепь ГРМ. Напишите вин номер вашего авто.

задан 6 лет назад
Похожие материалы
Регламент ТО Хонда СРВ 3
Статьи
52.9k
36
0
Замена салонного фильтра Honda CR-V 3
Видео
19.1k
10
0
Замена масла Хонда СРВ
Руководства
31.7k
53
0
Замена свечей Хонда СРВ 3
Руководства
27k
54
0
Замена воздушного фильтра Хонда СРВ
Руководства
20.1k
32
0
Топливный фильтр для Хонда СРВ 3
Статьи
15.3k
13
0