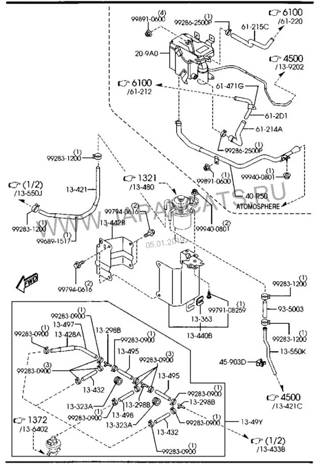
Где стоит топливный фильтр в Мазда МПВ, дизель, 2.0?
Mazda MPV MPV II (LW)
1 Ответы
1
Если левый руль, то топливный фильтр должен быть за корпусом воздушного фильтра (его нужно будет снять), внутри металлического кронштейна.


задан 7 лет назад
Похожие материалы
Замена свечей Мазда МПВ
Видео
15.6k
22
0
Замена салонного фильтра Mazda MPV
Видео
25.4k
40
0
Замена воздушного фильтра Mazda MPV
Видео
4.8k
5
0
Какое масло заливать в Мазда МПВ 2.3?
Qa
211
2
Какие аналоги топливного фильтра на Мазда МПВ?
Qa
4.7k
2
Где находится топливный фильтр в Мазда МПВ 2000?
Qa
1.7k
1