Как прикрепить, наружную часть накладки на порог Шевроле Трекер?
Chevrolet Tracker Tracker II
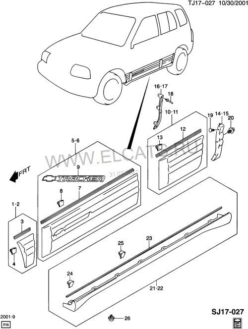
Стал отбивать снег из под крыльев и у переднего колеса, отлетела наружная часть накладки порога. Подскажите пожалуйста, как ее закрепить?
1 Ответы
0
На клипсах должно крепиться.

задан 4 года назад
А на старой накладке нет следов двух стороннего скотча? И какой номер накладки на схеме?
–
Михаил Самсонов
4 года назад
Старые накладки по верху крепились на клипсы, а вот нижняя часть не знаю. На навом ремкомплекте никаких отверстий нет. По этому и вопрос-как крепить нижнюю часть, потому как в верхней можно просверлить отверстия под клипсы.
–
Romanowic
4 года назад
Похожие материалы
Как закрепить обшивку потолка?
Qa
2k
2
При запуске двигателя загорается лампочка POWER в Шевроле Трекер 2
Qa
2.4k
1
Где находится банк1 и банк2, с какой стороны, Шевроле Трекер?
Qa
5.3k
1
Маркировка стекол автомобиля
Статьи
273.4k
201
34
Полироль для кузова
Статьи
251.3k
126
5
Жидкая шумоизоляция для днища и арок
Статьи
216.4k
219
3