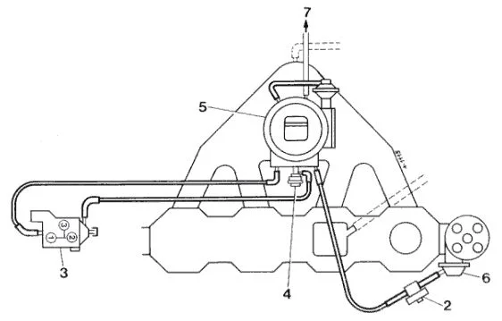
Схема карбюратора Pierburg 1B
Audi 100 100 III (C3)
Подскажите схему соединений вакуумных шлангов карбюратора PIERBURG 1B.
1 Ответы
1



1) — электронная схема управления;
2) — пневмоэлектроклапан;
3) — электрическая часть клапана отключения холостого хода;
4) — механическая часть клапана отключения холостого хода;
5) — карбюратор;
6) — вакуум опережения зажигания;
7) — патрубок на термоклапан в корпусе воздушного фильтра.
задан 11 лет назад