Где находится датчик температуры впускного воздуха, Киа Спортейдж?
Kia Sportage Sportage III
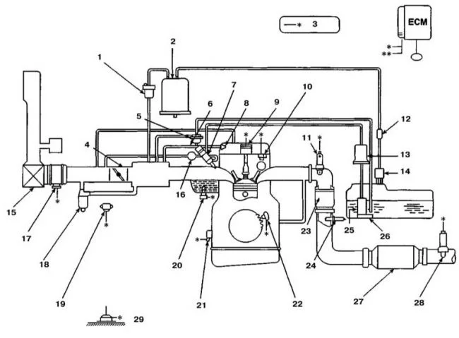
Ошибка р0098. Где находится на машине датчик температуры впускного воздуха? Киа Спортейдж, дизель, 184 л/с, 2011 г.в.
1 Ответы
0
Посмотрите N8.

задан 10 лет назад
Похожие материалы
Как проверить датчик скорости
Статьи
553.6k
334
35
Проверка датчиков двигателя
Статьи
351.1k
451
3
Неисправность датчика детонации
Статьи
303.2k
302
4
Неисправности датчика дроссельной заслонки
Статьи
278.4k
203
6
Неисправность датчика расхода воздуха
Статьи
250.3k
269
20
Проверка датчика температуры охлаждающей жидкости
Статьи
248.6k
184
26