Как подключить подогрев сидений в Опель Вектра Б
Opel Vectra Vectra B
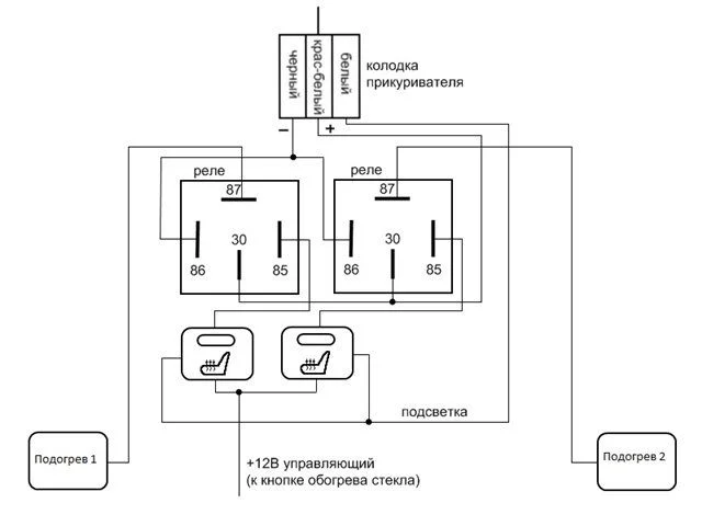
День добрый. Кто то переставил сиденье с обогревом на Vectra B 1997. Как там подсоединить? Кто знает скажите пожалуйста? Спасибо заранее.
1 Ответы
1
Ни чего сложного.

задан 9 лет назад
Похожие материалы
Проводка магнитофона
Qa
3k
2
Значение кнопки "машина+ круговая стрелка"
Qa
8.8k
1
Горит лампочка корректор фар
Qa
3.8k
2
Что за кнопка, стрелочки по кругу, рядом с подогревом сиденья пассажира?
Qa
1.9k
3
Периодически не работает тахометр и спидометр
Qa
4.1k
1
После не долгой поездки перестают работать тахометр и спидометр
Qa
2.3k
2