Не поворачивается ключ в замке зажигания Мерседес В201
Mercedes 190 (W201) 190 (W201)
Ключ до конца не поворачивается, скажите пожалуйста как снять и отремонтировать?
1 Ответы
0
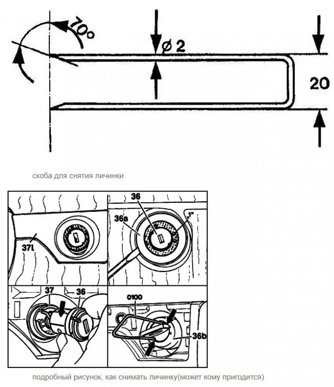
А если рулем немного покрутить, все равно не до конца? Как снять личинку замка, описано тут, попробуйте сначала ее снять.


задан 7 лет назад
Сколько бы не постарался не смог вытащить личинку. Хотя все сделал по инструкции
–
Azizali
7 лет назад
Похожие материалы
Дворники не работают Мерседес В201
Qa
399
1
Дворник отключается сразу в Мерседес В201
Qa
1.2k
2
Нужен ремкомплект карбюратора stromberg 175 cdt mercedes
Qa
435
1
Замена заднего ступичного подшипника Mercedes W201
Видео
10.4k
5
0
Кулиса переключается с заеданиями в Мерседес 124
Qa
1.3k
2
Сломалась коробка автомат Мерседес В201
Qa
709
1