Заводится в теплую погоду и глохнет Шкода Октавия А5
Skoda Octavia Octavia II (A5)
Зимой нет проблем. Как только наступает весна-лето, +20 на солнце, приехал на работу, постояла 2-4 часа, надо ехать на обед, вставляю ключ поворачиваю жду 2-3 секунды завожу, держит обороты 400-600 и глохнет. 2 раз завожу так же, только успеваю добавить газу и она заводится (вот эта проблема постоянная). С утра заводится без проблем даже если ночью +20. Датчик адсорбера заменил проблема осталась. 2 года проблема такая и все в теплую погоду, подскажите что делать!
2 Ответы
Проверьте параметры работы расходомера воздуха и угол открытия дроссельной заслонки в момент неисправности, еще проверьте, держат ли форсунки при простое. Если есть регулятор холостого хода, то его почистите и проверьте его работу, проводку.
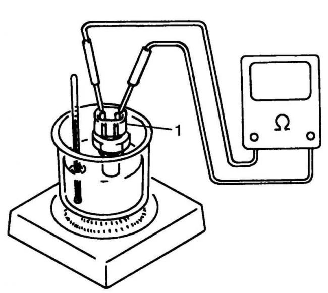
Может быть проблема и из-за неисправного датчика температуры двигателя — ДТОЖ — врёт, выдаёт неправильную температуру для ЭБУ.
Его можно проверить. Снять, в сосуде нагревать, и замерять сопротивление

