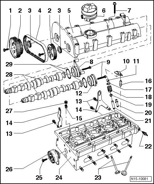
Детали и узлы привода клапанов на моторе 1.4 л 16V (BCA)
1K
1
0
Детали и узлы:

- 1. 20 Нм и довернуть на 1/4 об. (90°), заменить, для откручивания и затяжки использовать фиксатор распредвалов -T10016-;
- 2. Шкив распредвала, устанавливать в надлежащее положение при установке зубчатого ремня;
- 3. Манжетное уплотнение, заменять только при установленном распредвале, слегка смазать маслом рабочую кромку манжетного уплотнения, замена;
- 4. Зубчатый ремень передачи между валами, перед снятием пометить направление вращения, проверить степень износа, не перегибать, снятие, установка и натяжение;
- 5. Корпус распредвалов, снятие и установка, удалить остатки герметика, привалочные поверхности тщательно очистить, на них не должно быть масла и смазки, перед установкой нанести герметик -D 154 103 A1-, устанавливать вертикально сверху на шпильки и штифты;
- 6. Маслозаливная горловина, при наличии повреждений заменить, разборка и сборка, снятие и установка;
- 7. 10 Нм и довернуть на 1/4 об. (90°), заменить, затягивать, переходя от внутренних к наружным;
- 8. Крышка
- 9. 10 Нм
- 10. Роликовое коромысло, проверить подшипники роликов на легкость вращения, смазать рабочую поверхность маслом, при установке закрепить на опоре зажимом;
- 11. Сухари
- 12. Крышка
- 13. 20 Нм
- 14. Проушина
- 15. Обратный клапан, 6 Нм, не перетягивать, в противном случае клапан может заедать, очистить резьбу, перед установкой нанести на резьбу герметик -D 154 102 A1-;
- 16. Опорный элемент, не менять местами, с гидрокомпенсатором, смазать рабочую поверхность маслом, перед установкой проверить осевой люфт распредвала;
- 17. Тарелка пружины клапана
- 18. Пружина клапана, снятие и установка при снятой ГБЦ с помощью приспособления для замены пружин клапанов -3362-, при установленной ГБЦ;
- 19. Маслосъёмный колпачок, замена;
- 20. Направляющая втулка клапана, ремонтная, с буртиком;
- 21. Направляющая втулка клапана, проверка;
- 22. Датчик давления масла -F1-, 25 Нм, проверка, при негерметичности разрезать и заменить уплотнительное кольцо;
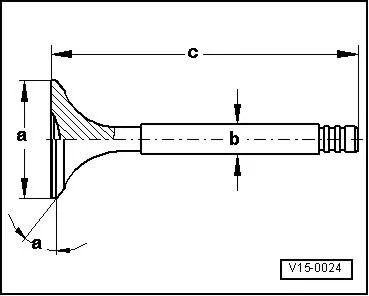
- 23. Клапаны, обработке не подлежат, допускается только притирка, Размеры клапанов;
- 24. Головка блока цилиндров, обработка сёдел клапанов. Обработка привалочных поверхностей;
- 25. 20 Нм
- 26. Натяжной ролик привода между валами, проверка, натяжка зубчатого ремня;
- 27. резьбовая пробка, устанавливать на герметик -D 154 102 A1-, не вкручивать слишком глубоко, макс. допустимая глубина от привалочной плоскости корпуса распредвалов: 2 мм;
- 28. Распределительные валы, Проверка осевого зазора, перед установкой смазать маслом (в т.ч. заплечики упорных подшипников), после сборки заменить манжетные уплотнения, замена манжетных уплотнений;
- 29. Уплотнительное кольцо, заменить.
Фиксация шкивов обоих распредвалов с помощью фиксатора T10016:

- Установить фиксатор обоими штифтами через специальные отверстия шкивов в центровочные отверстия корпуса распредвалов до упора;
Оба штифта фиксатора вставлены правильно, если вершины их головок -D- находятся на линии -A-.
- Сдвинуть держатель -B- до прилегания к шкиву распредвала впускных клапанов -C-;
- Если шкивы обоих распредвалов зафиксированы в центровочных отверстиях, болты этих шкивов можно ослаблять или затягивать.
Обработка привалочных поверхностей ГБЦ

Высота ГБЦ после обработки: a = не менее 108,25 мм.
В случае обработки привалочной поверхности ГБЦ посадка клапанов должна быть увеличена на соответствующий размер (обработать сёдла клапанов). Иначе клапаны будут ударяться о поршни. При обработке не превышать допустимый припуск.
Проверка осевого люфта распредвала

Необходимые специальные приспособления, контрольные и измерительные приборы, а также вспомогательные средства:
- Универсальный штатив индикатора часового типа -VW 387-;
- Индикатор часового типа.
Проводить измерения при снятом корпусе распредвалов и установленной крышке распредвала. Предельно допустимая величина: максимум 0,40 мм.
Размеры клапанов

Клапаны не подлежат механической обработке. Допускается только притирка.
| Размер | Впускной клапан | Выпускной клапан |
|---|---|---|
| a, мм | 29,5 | 26,0 |
| b, мм | 5,973 | 5,953 |
| c, мм | 100,9 | 100,5 |
| a° | 45 | 45 |
Был ли этот лайфхак полезным?
Ваш отзыв помогает нам улучшать контент.
Похожие материалы
Замена масляного насоса Фольксваген Гольф 5
Руководства
4.4k
1
0
Какие моменты затяжки распредвала и клапанной крышки Октавия А4 1.6?
Qa
575
2
Какие номера подшипников и сальников передней ступицы Октавия А5 дорестайл?
Qa
3.7k
8
Заглох двигатель на ходу FSI Шкода Октавия А5
Qa
333
1
Течь масла из под клапанной крышки в Шкода Октавия А5
Qa
2.4k
2
Масло в расширительном бачке тосола Шкода Октавия А4
Qa
1.2k
3
Обсуждение (0)
Пока нет комментариев!