Течет патрубок охлаждения на Мазда 323
Mazda 323 323 V (BA)
Есть проблема. Спереди двигателя, снизу, есть выход охлаждения. Туда справа вставлена железная трубка. Она была ржавая и текла. Я поменял. Она все равно течет. Как исправить? Может что-то не правильно сделал?
7 Ответы
Может, не видя, что вы сделали-сложно ответить, надо смотреть источник течи, может просто криво воткнули.
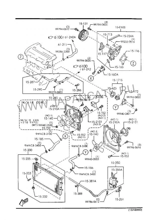
Ну как вам помочь, бог его знает как вы там что сделали. Вот схема из каталога, можете показать какая трубка. Хотя на схеме вроде нет железной. 
Возможно и не она течёт, а резиновый патрубок. Ож стекает и капает с нижней точки. Смотреть надо на прогретом, работающем моторе. Когда есть давление в системе(помпа качает). Резиновые патрубки от температуры размягчаются и немного раздуваются.
Надо было на клей вставлять...
А у меня по другому выглядит.

Деталька Y, а из нее в прaво выходит трубка(не видно номера), их соединение течет. Даже не заводя двигатель. Уплотнительное колечко установлено. На днях придет новая трубка. Попробую поменять. На этой есть сломы в конце.
Может есть какой вариант герметизации этих соединений?
Похожие материалы