Порядок прокачки тормозов с ABS
Fiat Ducato Ducato IV
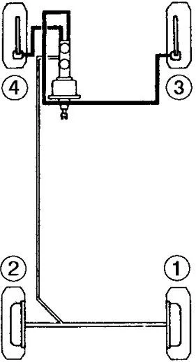
Какой порядок прокачки тормозов авто с АБС? Как прокачать тормоза с ABS?
1 Ответы
0
Прокачивайте с самой дальней точки от гтц.

задан 11 лет назад
Похожие материалы
Как заменить блок АБС на Фиат Дукато?
Qa
5.5k
1
Почему горит ошибка АБС: причины и решения
Статьи
492.1k
652
21
Смазка для суппортов и направляющих
Статьи
430.5k
194
5
Какие тормозные диски лучше
Статьи
376.7k
423
11
Как прокачать тормоза с АБС
Статьи
371.6k
316
27
Как прокачать тормоза
Статьи
333.7k
243
6