Какое расположение рулевых тяг в Ауди 100 С4
Audi 100 100 IV (C4)
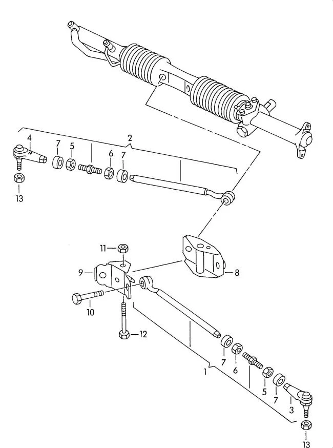
На днях, при замене рулевых наконечников, столкнулся с таким вопросом-как должны быть прикручены рулевые тяги к рейке? Они просто у меня прикручены по разному. Правая изгибом к рейке, а левая от рейки. И это меня ввело в ступор.Да, еще на тяге была разбита втулка. На экзисте их нет-предлагается покупать всю тягу целиком(очень дорого). Нашел подходящую втулку -SWAG10 61 0020(60 р.). Она чуть шире, а так подходит идеально!

3 Ответы
0
Первый рисунок из «эксиста»

второй с другого сайта ( Jim Ellis Audi Parts )

Вы про какую втулку?
Изгибы должны стоять одинаково (в смысле, горбинка должна быть не к рейке).
задан 9 лет назад
0
У меня было так

задан 9 лет назад
0
Сегодня переделал — изгиб от рейки! Втулки, которые стоят в рулевых тягах, которые прикручены к рулевой рейке.
задан 9 лет назад
Похожие материалы
Снятие рулевой рейки на ауди 100 С4 AAH 2.8
Руководства
23.4k
22
0
Переборка рулевой рейки Audi 100
Руководства
145.8k
435
12
Замена жидкости ГУР Audi A100 / C4
Руководства
25.9k
26
0
Переборка насоса ГУР на Audi A100
Руководства
50.7k
30
1
Замена рулевой рейки Ауди 100
Руководства
46.6k
39
3
Не всегда работает насос ГУР на Ауди 100 Ц4
Qa
1.9k
1