Какая должна быть ось задней ступицы в Фольксваген Пассат Б3?
Volkswagen Passat Passat B3
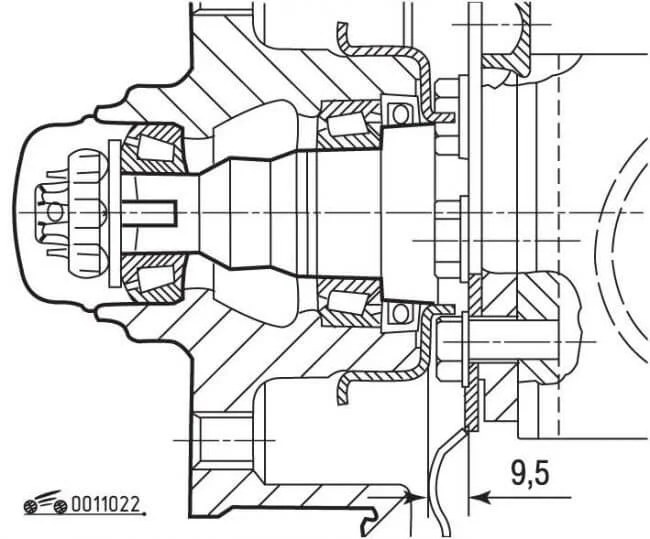
Вы мне вот что скажите цапфа такая должна быть, то есть с конусами в обе стороны? Спасибо

1 Ответы
1
Да, конусы должны быть. Вот чертёж вашей цапфы, хорошо видно конусы

задан 8 лет назад
Похожие материалы
Амортизаторы для Фольксваген Пассат B5, B4 и В3
Статьи
35.7k
24
0
Глухой стук передней подвески на Пассат Б3
Qa
1.3k
1
Гул при наборе скорости Пассат Б3
Qa
1.6k
1
Замена переднего ступичного подшипника на Пассат Б3
Видео
34.2k
19
1
Обломился болт в рычаге передней подвески Пассат Б3
Qa
5.9k
2
Как поменять втулки стабилизатора Фольксваген Пассат Б3?
Qa
3.8k
1