Датчик положения распредвала
Датчик положения распредвала (другое название — датчик фаз, английская аббревиатура — CMP) предназначен для определения углового положения распределительного вала в определенный промежуток времени. Информация, которую формирует датчик, нужна для управления системой впрыска и зажигания. В частности, чтобы впрыск происходил только в один цилиндр, который находится в верхней “мертвой” точке.

1 — Зубчатый диск импульсного датчика распределительного вала, 2 — Датчик Холла
Датчик Холла распределительного вала передаёт сведения по распознаванию цилиндра и/или числу оборотов распределительного вала на блок управления. Он используется также для систем впрыска с режимом последовательного впрыска и/или для систем зажигания без распределителя с одноискровыми катушками зажигания.
Датчик зондирует штифты, зубы, зубчатые диски импульсного датчика или диски датчика, укреплённые на распределительном валу или на приводе распределительного вала.
Где находится датчик положения распредвала
На большинстве машин ДПРВ находится в районе головки блока цилиндров. Чтобы найти его, необходимо ориентироваться на положение распределительного вала. Он может находиться с левой или правой части двигателя. Место расположения датчика распредвала варьируется в зависимости от марки и модели. Обычно его можно найти возле верхней части местоположения ремня или в защищенных частях проводки, расположенной в передней части двигателя. Также иногда ДПРВ устанавливают в задней части ГБЦ. А некоторые автопроизводители ставят в специальном отсеке под капотом (примером служат автомобили марки General Motors).
Ниже приводим несколько примеров расположения ДПРВ на разных машинах.

ДПРВ на Опель Астра

ДПРВ на ВАЗ 2114

ДПРВ на VW Polo
Принцип работы датчика положения распредвала
Существует три типа ДПРВ:
- Магнитные (индуктивного типа). Принцип действия основан на прохождении в постоянном магнитном поле металлического предмета (зубца). Магнитные датчики обычно имеют два вывода.
- Основанные на эффекте Холла. Фиксирует изменение магнитного поля вокруг датчика. Такие датчики обычно имеют три вывода.
- Оптические. Принцип действия основан на фиксации приема и прерывания фотоэлементом луча света, излучаемого источником.
Наиболее распространены ДПРВ первого двух типов. Оптические используют лишь в некоторых марках автомобилей (например, машины на базе платформы Mazda GE). В некоторых моделях автомобилей может быть установлено два и более датчиков. Причем, возможно, разных типов.

Интегральный датчик

Датчик на эффекте Холла

Схема оптического датчика
Вместе с распределительным валом вращается ротор из ферромагнитного материала. ИС Холла находится между ротором и постоянным магнитом, который создаёт магнитное поле вертикально по отношению к элементу Холла. Когда зуб проходит мимо чувствительного элемента датчика, напряжённость магнитного поля изменяется. За счёт этого индуцируется напряжение и в ИС Холла возникает цифровой сигнал. Таким образом вращение зубчатого диска импульсного датчика распределительного вала изменяет напряжение Холла в ИС Холла в головке датчика. Изменяющееся напряжение передаётся в блок управления и анализируется.

Рабочие диаграммы различных датчиков
Датчик является интегральным, то есть, включает в себя чувствительный элемент и вторичный преобразователь сигнала. Основная функция датчика состоит в фиксации цилиндрических фаз впуска и выпуска. Именно поэтому он имеет второе название — датчик фаз.
Признаки неисправности
При выходе из строя ДПРВ каждая форсунка срабатывает в два раза чаще (один раз каждый оборот коленвала). При этом возникают следующие симптомы неисправности датчика положения распредвала:
- Резко возрастает расход топлива.
- Нестабильная работа машины во время движения. Она начинает дергаться рывками, терять скорость. Иногда автомобиль не сможет разогнаться быстрее 60 км/час. Также двигатель может заглохнуть во время езды.
- На некоторых автомобилях при выходе из строя ДПРВ коробка передач может зафиксироваться в одном положении. Так будет продолжаться до тех пор, пока вы не перезапустите двигатель. Если такая ситуация повторяется регулярно — значит, на вашей машине вышел из строя датчик положения распредвала.
- При неисправности датчика может полностью пропасть искра зажигания. В результате появляются проблемы с запуском двигателя.
- Возможны сбои в работе системы самодиагностики.
- Лампа “чек двигателя” бессистемно загорается на холостых оборотах двигателя, а при повышенных оборотах гаснет.
Появившиеся признаки закрепятся желтой лампочкой двигателя на приборной панели. Поскольку, когда блок управления обнаруживает некорректную работу датчика СМР, он записывает в память код ошибки. Для расшифровки необходимо воспользоваться специальным оборудованием. Самыми частыми кодами ошибок являются:
- P0300 — нерегулярный/многократный пропуск воспламенения в системе зажигания;
- P0340 — нет сигнала с датчика положения распредвала;
- P0341 — неправильная фаза газораспределения;
- P0342 — низкий уровень сигнала ДПРВ;
- P0343 — высокий уровень сигнала датчика положения распредвала;
- P0344 — неустойчивый (прерывистый) сигнал с датчика положения распредвала;
- P0365 — отсутствует сигнал цепи ДПРВ.
Возможные причины неисправности
Причин неисправности ДПРВ может быть очень много. При этом необязательно это указывает на то, что вышел из строя именно датчик. Зачастую проблемы возникают с проводкой и другими элементами схемы. Причинами выхода датчика из строя или проблем в его работе могут быть следующие факторы:

Мусор и стружка на корпусе датчика
- датчик не подключен к сигнальным проводам;
- наличие влаги в соединителе датчика;
- замыкание на “массу” сигнального провода;
- обрыв сигнального провода;
- замыкание на бортовую сеть сигнального провода;
- обрыв экранирующей оболочки проводов или жгута;
- обрыв или повреждение провода питания датчика;
- неверное подключение проводов электропитания;
- неисправность высоковольтных цепей зажигания;
- неисправность блока управления двигателем;
- большой или малый зазор между датчиком и отметчиком;
- повышенное торцевое биение шестерни распредвала;
- наличие стружки на корпусе датчика.
Как проверить датчик положения распредвала
Проверка индуктивного ДПРВ и датчика, основанного на эффекте Холла, схожи между собой. В процессе происходит замер значения напряжения между их выводами. Для этого вам понадобится мультиметр, способный измерять постоянное напряжение. Проверку работы датчика нужно начать со следующих процедур:

ДПРВ с тремя выводами
- Проверить подключение датчика к жгуту сигнальных проводов. К нему должны подходить +12 В и “масса” (см. рисунок).
- Если питание и “масса” на датчике есть, то необходимо завести двигатель и проверить наличие импульсов на сигнальном проводе.
- Проверить наличие влаги в соединителе. Для этого необходимо отсоединить от датчика штекер с сигнальными проводами и проверить сухость самой вилки и розетки. Если там имеется окисление или загрязнение, очистите и просушите.
- Проверьте изоляцию сигнальных проводов. Ее повреждение по статистике является самой распространенной причиной неисправности. Дело в том, что датчик находится в непосредственной близости к двигателю. Поэтому изоляция нагревается и со временем ломается и осыпается, приводя к замыканию цепи.
- Проверьте значение сопротивления изоляции индуктивного датчика. Как правило, оно составляет около 0,5...1 кОм. У некоторых датчиков оно будет несколько кОм (подробную информацию уточняйте в мануале к вашей машине). Главное, чтобы изоляция не была нарушена.

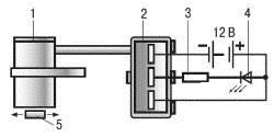
Схема для проверки ДПРВ
Проверить работу датчика, основанном на эффекте Холла, можно следующим способом. Для этого собирают схему, изображенную на рисунке. На схеме: 1 — корпус датчика, 2 — штекерная колодка, 3 — резистор со значением сопротивления 0,5...0,6 кОм, 4 — светодиод марки АЛ307, 5 — металлический предмет (например, отвертка). В качестве источника питания берут автомобильный аккумулятор. Для проверки необходимо перемещать металлический предмет вблизи датчика. Если он исправен, то светодиод должен кратковременно светиться. Если этого не происходит — значит, датчик неисправен.
Существует еще один способ для проверки датчика, основанного на эффекте Холла. Отсоединяем датчик от разъема, а к его выводам подсоединяем мультиметр в режиме измерения постоянного напряжения. Включаем зажигание. Значение напряжения между “массой” датчика и общей “массой” должно быть 0 В. А напряжение между общей “массой” и контактом питания датчика должно находиться в пределах 10...12 В. Возле корпуса необходимо перемещать металлический предмет. Если при этом значения на мультиметре будут меняться — датчик исправен. В противном случае — нет.
Проверка двухпроводного (индуктивного) датчика
Если на вашей машине установлен двухпроводный ДПРВ (индуктивного типа), то его проверку необходимо проводить в такой последовательности:
- Установите мультиметр на функцию измерения переменного напряжения.
- Поверните ключ зажигания без запуска двигателя.
- Проверить наличие напряжения в цепи. Для этого один контакт мультиметра подсоедините к “массе”, а другим проверить каждый провод в разъеме ДПРВ. Если ни на одном из них нет напряжения — датчик полностью неисправен.
Другой способ заключается в следующем:
- Запустите двигатель автомобиля.
- Один контакт мультиметра подсоедините к одному проводу датчика, второй контакт — к другому. Если датчик исправен, то вы увидите на тестере колеблющееся напряжение в пределах 0...5 В (точное значение уточняйте в мануале вашего автомобиля). Если напряжения нет — датчик неисправен.
Проверка трехпроводного ДПРВ
Проверка датчика, основанного на эффекте Холла, проводится по следующему алгоритму:
- Установите мультиметр в режим измерения постоянного напряжения.
- Поверните ключ в зажигании, но без запуска двигателя.
- Один контакт прибора подсоедините к “массе”. Другой контакт — к проводу питания датчика. Сравните полученное напряжение с указанным в мануале к вашему автомобилю.
Другой способ:
- Запустите двигатель.
- Подсоедините один контакт мультиметра к черному проводу датчика, второй контакт — к красному (провода питания). Полученное значение напряжения должно совпадать с указанным в мануале машины. Если на контактах электричества нет — датчик вышел из строя.
Как правило, датчик положения распредвала не поддается ремонту. Поэтому в случае его выхода из строя необходимо купить новый. Его цена составляет около 4...10$ в зависимости от марки датчика и автомобиля.
Замена датчика распредвала
Датчик прикреплен к корпусу с помощью одного болта. Обычно он имеет головку на 10. Чтобы его открутить нужен торцевой ключ. Предварительно с ДПРВ необходимо снять фишку. После того, как вы открутили болт, аккуратно потяните датчик вверх, чтобы вытащить его из посадочного места.
Сборка происходит в обратном порядке. Посадочное место датчика уплотняется резиновым кольцом. Также учтите, что монтажный зазор между его торцом и верхней кромкой штифта-отметчика, должен быть в пределах 0,5…1,2 мм. Датчик устанавливают на место, закрепляют болтом и подсоединяют фишку.

Процесс замены ДПРВ на автомобиле «Лада»
Специалисты рекомендуют проводить замену датчика через каждые 100 тысяч километров пробега или раз в 5 лет (в зависимости от того, что наступит быстрее). Такая рекомендация вызвана тем фактом, что датчик работает в постоянном изменении температурного режима. В связи с этим происходит температурный перепад полупроводниковой начинки датчика, которая очень “не любит” этого.
Теперь, надеюсь, узнав нюансы принципа работы датчика положения распредвала и его признаки неисправности, Вам не составит труда самостоятельно проверить ДПРВ, и в два счёта заменить его в случае выхода из строя. А на вопрос товарища: “Какие признаки неисправного датчика распредвала” или “Как проверить датчик положения РВ”, с уверенностью ответите — Я знаю, прочитал на atlib.info, сейчас расскажу и тебе.
Была ли эта статья полезной?
Ваш отзыв помогает нам улучшать контент.
Похожие материалы
Обсуждение (2)
Какой вольтаж приходит на датчик распредвала Ауди А4 2.0 дизель 2006г
На фордах 90 годов датчик механический, и его надо правильно установить по оси двигателя