Схема генератора автомобиля
Самая основная функция генератора – зарядка батареи аккумулятора и питание электрического оборудования двигателя.

Генератор – механизм, который превращает механическую энергию в электрическую. Генератор имеет вал, на который насажен шкив, через который и получает вращения от коленчатого вала двигателя.

- Аккумуляторная батарея
- Выход генератора "+"
- Выключатель зажигания
- Лампа-индикатор исправности генератора
- Помехоподавляющий конденсатор
- Положительные диоды силового выпрямителя
- Отрицательные диоды силового выпрямителя
- «Масса» генератора
- Диоды обмотки возбуждения
- Обмотки трех фаз статора
- Питание обмотки возбуждения, опорное напряжение для регулятора напряжения
- Обмотка возбуждения (ротор)
- Регулятор напряжения
Автомобильный генератор используют для питания электропотребителей, таких как: система зажигания, бортовой компьютер, автомобильная светотехника, система диагностики, а также есть возможность заряжать автомобильный аккумулятор. Мощность генератора легкового автомобиля составляет приблизительно 1 кВт. Автомобильные генераторы достаточно надежные в работе, потому что обеспечивают бесперебойную работу множеству приборов в автомобиле, а поэтому и требования к ним соответствующие.
Устройство генератора
Устройство автомобильного генератора подразумевает наличие собственного выпрямителя и регулирующей схемы. Генерирующая часть генератора с помощью неподвижной обмотки (статора) вырабатывает трёхфазный переменный ток, который далее выпрямляется серией из шести больших диодов и уже постоянный ток заряжает аккумулятор. Переменный ток индуцируется вращающимся магнитным полем обмотки (вокруг обмотки возбуждения или ротора). Далее ток через щётки и кольца скольжения подаётся на электронную схему.

Устройство генератора: 1.Гайка. 2.Шайба. 3.Шкив. 4.Передняя крышка. 5.Дистанционное кольцо. 6.Ротор. 7.Статор. 8.Задняя крышка. 9.Кожух. 10.Прокладка. 11.Защитная втулка. 12.Выпрямительный блок с конденсатором. 13.Щеткодержатель с регулятором напряжения.
Располагается генератор в передней части двигателя автомобиля и запускается с помощью коленчатого вала. Схема подключения и принцип работы генератора автомобиля одинаковый для любых автомобилей. Есть конечно некоторые отличия, но они, как правило, связаны с качеством изготовленного товара, мощностью и компоновкой узлов в моторе. Во всех современных автомобилях устанавливают генераторные установки переменного тока, которые включают не только сам генератор, но и регулятор напряжения. Регулятор равносильно распределяет силу тока в обмотке возбуждения, именно за счет этого и происходит колебание мощности самой генераторной установки в тот момент, когда напряжение на силовых клеммах выхода остается неизменным.
Принцип работы генератора авто

Схема подключения генератора ВАЗ 2110-2115
Схема подключения генератора переменного тока включает такие составляющие:
- Аккумулятор.
- Генератор.
- Блок предохранителя.
- Ключ зажигания.
- Приборная панель.
- Выпрямительный блок и добавочные диоды.
Принцип работы достаточно простой, при включении зажигания плюс через замок зажигания идет через блок предохранителей, лампочку, диодный мост и выходит через резистор на минус. Когда лампочка на приборной панели загорелась, далее плюс идет на генератор (на обмотку возбуждения), далее в процессе запуска двигателя шкив начинает вращаться, также вращается якорь, за счет электромагнитной индукции вырабатывается электродвижущая сила и появляется переменный ток.
Далее в выпрямительный блок через синусоиду в левое плечо диод пропускает плюс, а в правое минус. Добавочные диоды на лампочку отсекают минусы и получаются только плюсы, далее он идет на узел приборной панели, а диод, который там стоит он пропускает только минус, в итоге лампочка гаснет и плюс тогда идет через резистор и выходит на минус.

Принцип работы автомобильного генератора постоянного, можно объяснить так: через обмотку возбуждения начинает течь небольшой постоянный ток, который регулируется управляющим блоком и поддерживается им на уровне чуть больше 14 В. Большинство генераторов в автомобиле способны вырабатывать как минимум 45 ампер. Генератор работает на 3000 оборотах в минуту и выше — если посмотреть на соотношение размеров ремней вентиляторов для шкивов, то оно по отношению к частоте двигателя составит два или три к одному.
Во избежание этого пластины и другие части выпрямителя генераторов частично или полностью покрывают изоляционным слоем. В монолитную конструкцию выпрямительного блока теплоотводы объединяются в основном монтажными платами из изоляционного материала, армированными соединительными шинками.
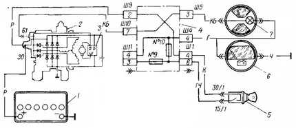
Далее рассмотрим схему подключения автомобильного генератора на примере автомобиля ВАЗ-2107.
Схема подключения генератора на ВАЗ 2107
Схема зарядки ВАЗ 2107 зависит от того, какой применяется тип генератора. Чтобы подзарядить аккумуляторную батарею на таких авто, как: ВАЗ-2107, ВАЗ-2104, ВАЗ-2105, которые стоят на карбюраторном двигателе, будет необходим генератор типа Г-222 или его аналог с максимальным током отдачи в 55А. В свою очередь автомобили ВАЗ-2107 у которых инжекторный двигатель используют генератор 5142.3771 или его прототип, который называется генератором повышенной энергии, с максимальным током отдачи 80-90А. Также можно устанавливать более мощные генераторы с током отдачи до 100А. Абсолютно во все виды генераторов переменного тока встраиваются выпрямительные блоки и регуляторы напряжения, они, как правило, изготовлены в одном корпусе со щетками либо съемные и крепятся на самом корпусе.
Схема зарядки ВАЗ 2107 имеет незначительные отличия в зависимости от года изготовления автомобиля. Самым главным отличием есть наличие или отсутствие контрольной лампы заряда, которая расположена на панели приборов, также способ ее подключения и наличие либо отсутствие вольтметра. Такие схемы в основном используются на карбюраторных автомобилях, тогда как на авто с инжекторными двигателями схема не меняется, она идентична с теми автомобилями, которые изготовлялись ранее.
Обозначения генераторных установок:
- “Плюс” силового выпрямителя: “+”, В, 30, В+, ВАТ.
- “Масса”: “-”, D-, 31, B-, M, E, GRD.
- Вывод обмотки возбуждения: Ш, 67, DF, F, EXC, E, FLD.
- Вывод для соединения с лампой контроля исправности: D, D+, 61, L, WL, IND.
- Вывод фазы: ~, W, R, STА.
- Вывод нулевой точки обмотки статора: 0, МР.
- Вывод регулятора напряжения для подсоединения его в бортовую сеть, обычно к “+” аккумуляторной батареи: Б, 15, S.
- Вывод регулятора напряжения для питания его от выключателя зажигания: IG.
- Вывод регулятора напряжения для соединения его с бортовым компьютером: FR, F.

Схема генератора ВАЗ-2107 типа 37.3701
- Аккумуляторная батарея.
- Генератор.
- Регулятор напряжения.
- Монтажный блок.
- Выключатель зажигания.
- Вольтметр.
- Контрольная лампа заряда аккумуляторной батареи.
При включении зажигания плюс от замка идет к предохранителю № 10, а затем уже поступает на реле контрольной лампы заряда аккумуляторной батареи, потом идет к контакту и на вывод катушки. Второй вывод катушки взаимодействует с центральным выводом стартера, где соединяются все три обмотки. Если контакты реле замыкаются, то и контрольная лампа горит. При запуске двигателя генератор вырабатывает ток и на обмотках появляется переменное напряжение 7В. Через катушку реле проходит ток и якорь начинает притягиваться, при этом контакты размыкаются. Генератор № 15 через предохранитель № 9 пропускает ток. Аналогично через генератор напряжения щетки получает питание обмотка возбуждения.
Схема зарядки ВАЗ с инжекторными двигателями
Такая схема идентичная схемам на других моделях ВАЗов. Она отличается от предыдущих, способом возбуждения и контроля на исправность генератора. Он может быть осуществлен при помощи специальной контрольной лампы и вольтметра на панели приборов. Также через лампу заряда происходит первоначальное возбуждение генератора в момент начала работы. Во время работы генератор работает “анонимно”, то есть возбуждение идет напрямую с 30-го вывода.Когда включается зажигание, то питание через предохранитель №10 идет на лампу зарядки в панели приборов. Далее через монтажный блок поступает на 61-й вывод. Три дополнительные диода обеспечивают питание регулятору напряжения, а он в свою очередь передает его на обмотку возбуждения генератора. В этом случае контрольная лампа будет гореть. Именно в тот момент, когда генератор будет работать на обкладках выпрямительного моста напряжение будет гораздо выше, чем у аккумуляторной батареи. В этом случае контрольная лампа не будет гореть, потому что напряжение с ее стороны на дополнительных диодах будет ниже, чем со стороны статорной обмотки и диоды закроются. Если во время работы генератора контрольная лампа горит в пол накала, то это может означать, что пробиты дополнительные диоды.
Проверка работы генератора
Проверить работоспособность генератора можно несколькими способами применяя определенные методы, например: можно проверить напряжение отдачи генератора, падение напряжения на проводе, который соединяет токовый вывод генератора с аккумуляторной батареей или проверить регулируемое напряжение.
Для проверки будет необходим мультиметр, автомобильный аккумулятор и лампа с припаянными проводами, провода для подключения между генератором и аккумулятором, а еще можно взять дрель с подходящей головкой, так как возможно придется крутить ротор за гайку на шкиве.
Элементарная проверка лампочкой и мультиметром
Схема подключения: выходная клемма (В+) и ротор (D+). Лампу нужно подключить между основным выходом генератора В+ и контактом D+. После этого берем силовые провода и подключаем “минус” к минусовой клемме аккумулятора и к массе генератора, “плюс” соответственно к плюсу генератора и к выходу В+ генератора. Закрепляем на тиски и подключаем.
Включаем тестер в режим (DC) постоянного напряжения, цепляем один щуп на аккумулятор к “плюсу”, второй также, но к “минусу”. Далее, если все в рабочем состоянии, то должна загореться лампочка, напряжение в этом случае будет 12,4В. Затем берем дрель и начинаем крутить генератор, соответственно лампочка в этом момент перестанет гореть, а напряжение уже будет 14,9В. После чего добавляем нагрузку, берем галогенную лампу H4 и вешаем ее на клемму аккумулятора, она должна загореться. После чего в аналогичном порядке подключаем дрель и напряжение на вольтметре будет показывать уже 13,9В. В пассивном режиме аккумулятор под лампочкой дает 12,2В, а когда крутим дрелью, то 13,9В.

Схема проверки генератора
Строго не рекомендуется:
- Проводить проверку на работоспособность генератора путем короткого замыкания, то есть “на искру”.
- Допускать, чтобы генератор работал без включенных потребителей, также нежелательна работа при отключенном аккумуляторе.
- Соединение клеммы “30” (в некоторых случаях B+) с “массой” или клемму “67” (в некоторых случаях D+).
- Проводить сварочные работы кузова автомобиля при подключенных проводах генератора и аккумулятора.
Была ли эта статья полезной?
Ваш отзыв помогает нам улучшать контент.
Похожие материалы
Обсуждение (3)
Товарищи,что вы прицепились к уважаемому журналисту, если человек соображает он все поймет,если руки-крюки из опы то и лезть не стоит в такие вещи,а то ещё начнет дрелью крутить а генератор выскочить из рук да по еб*льнику.
Если искры нет, то неисправна катушка зажигания. Если неисправен коммутатор, провод коммутатора перебит, то катушка тоже не будет работать
Включаем тестер в режим (DC) постоянного тока......может Вы хотели написать "постоянного напряжения"?? а то тестером так аккум коротить только можно.бабах!!